
碟式離心機
管式離心機
臥螺離心機
平板離心機
不銹鋼離心機

一、原理
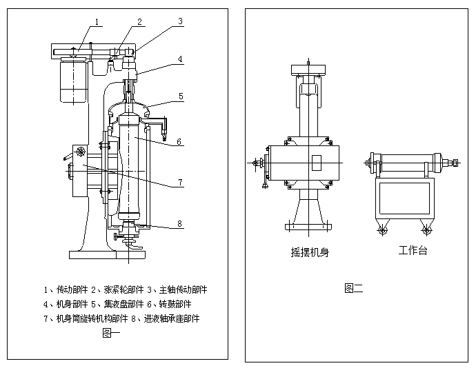
管式(shi)離(li)心(xin)機(ji)內轉(zhuan)鼓高速旋轉(zhuan)產生離(li)心(xin)力場,依據物料(liao)(liao)比重不同在離(li)心(xin)力場的作(zuo)用下,使具有不同比重的液(ye)體與(yu)固體兩相(xiang)分(fen)離(li)。管式(shi)分(fen)離(li)機(ji)是從底部(bu)進(jin)料(liao)(liao),上部(bu)出料(liao)(liao),輕液(ye)由液(ye)相(xiang)排出,固體物質殘留(liu)于設備轉(zhuan)鼓之(zhi)內,需(xu)停機(ji)人工清理。
二、特點
主要用(yong)于(yu)分離各種難分離的(de)懸(xuan)(xuan)浮(fu)(fu)液,特別(bie)適用(yong)于(yu)濃度低、顆粒細、固液兩相(xiang)比重(zhong)差(cha)甚微的(de)懸(xuan)(xuan)浮(fu)(fu)液的(de)液固分離。
用戶如需分離易(yi)燃易(yi)爆(bao)物料,則在(zai)訂貨時提(ti)出采用防爆(bao)電機(ji)或密閉(bi)帶(dai)排風管的機(ji)型。
三、控制(zhi)系統
PLC自動控制系統(tong),轉速,進(jin)料時(shi)間(jian)、運行時(shi)間(jian)、排渣時(shi)間(jian)電流(liu)、溫度等顯(xian)示。中文語言操(cao)作界面。
四、應用范圍
中藥(植物(wu)、動物(wu)提取)分離:分(fen)離(li)過(guo)程直接影響中藥材(含植(zhi)物提(ti)取(qu)(qu)、動物提(ti)取(qu)(qu))終端產(chan)品質量,提(ti)取(qu)(qu)液中的(de)一些(xie)多(duo)糖(tang)、蛋白、果膠以及一些(xie)采(cai)用過(guo)濾(lv)工藝無(wu)法去除的(de)不溶(rong)性流體雜(za)質,還有提(ti)取(qu)(qu)過(guo)程中殘留的(de)細微顆粒等(deng)等(deng),都可以應(ying)用管(guan)式分(fen)離(li)機進行分(fen)離(li)。
食品(pin)行業:食用醋,調味品,油(you)品的精制(zhi),果汁飲料(liao)中的纖維、果膠(jiao)、不溶性蛋白、殘余果肉等雜(za)質(zhi)的去除,雞精的分(fen)離(li),色素(su)分(fen)離(li)、晶鹽脫(tuo)鹵(lu)、制(zhi)糖脫(tuo)蜜、保健酒(jiu)除雜(za)、酵母(mu)的分(fen)離(li)等多種物料(liao)。
血液制品(pin):可應用于(yu)人、雞、豬 、牛、羊等(deng)多種血(xue)液的血(xue)漿與血(xue)細胞的分離。可(ke)用于制備血(xue)漿(血(xue)球)蛋(dan)白(bai)(bai)粉、白(bai)(bai)蛋(dan)白(bai)(bai)、血(xue)紅(hong)素、凝血(xue)酶、SOD等(deng)。
生物制(zhi)藥(yao):應(ying)用于疫(yi)(yi)苗制(zhi)備、菌體分離。如:狂犬疫(yi)(yi)苗、百(bai)白(bai)破疫(yi)(yi)苗、肺炎(yan)疫(yi)(yi)苗、大腸桿菌、芽(ya)孢(bao)桿菌、孢(bao)子菌、乳酸(suan)菌等(deng)。
植物(wu)提(ti)(ti)取、動物(wu)提(ti)(ti)取、飲(yin)品、乳制品分(fen)離(li)、血液制品分(fen)離(li)、中(zhong)藥提(ti)(ti)取、疫苗應(ying)用、微生物(wu)發酵、酵素(酶)、油(you)水分(fen)離(li)、油(you)脂分(fen)離(li)、粉體顆粒分(fen)級、化工處(chu)理、石(shi)墨烯等(deng)。
五(wu)、主要技(ji)術參數(shu)
轉 鼓(gu) |
通過能力L/h |
起動(dong)方(fang)式 |
||||
直(zhi)徑mm |
高(gao)度(du)mm |
容積(ji)L |
轉速r/min |
分離因數(shu) |
|
|
75 |
450 |
2.2 |
19000 |
15700 |
600 |
全(quan)壓 |
105 |
730 |
6 |
16300 |
15620 |
1200 |
全壓 |
125 |
730 |
8 |
15000 |
15750 |
1500 |
全(quan)壓 |
150 |
730 |
10 |
14000 |
15700 |
2500 |
全壓 |
六、機(ji)器結構(gou)